Err

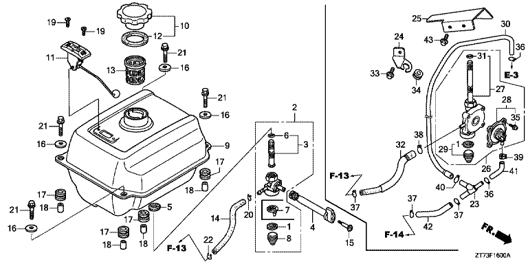
RESERVOIR A CARBURANT EU30is HONDA

RESERVOIR A CARBURANT EU30is HONDA

HONDA
(Code: RESERVOIR A CARBURANT EU30is HONDA)
En Stock
(99 Article(s) en stock)
Choisissez votre repère :
100g
Livraison Rapide
Ciblex 24-48h
Paiement  100% securisé
BNP PARIBAS, Paypal